H Apple κατέθεσε μία νέα πατέντα η οποία υπόσχεται να φέρει την επανάσταση στα πληκτρολόγια.
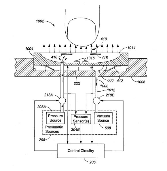
Το νέο πληκτρολόγιο που ετοιμάζει η Apple, θα διευκολύνει πολύ κόσμο που δεν είναι καλοί στο γράψιμο αφού θα μπορεί να γνωρίζει ποιό θα είναι το επόμενο πλήκτρο που θα πατήσει.
Η πρόβλεψη αυτή λειτουργεί με μικροαισθητήρες οι οποίοι θα βγάζουν αέρα από τα πλήκτρα έτσι ώστε να μπορούν να εντοπίσουν τα δάχτυλα του χρήστη πριν αυτά αγγίξουν την επιφάνεια του πλήκτρου και στη συνέχεια ανάλογα με την κίνηση τους μπορούν να καταλάβουν την πρόθεσή του.

Το σύστημα αυτό με τον αέρα σίγουρα θυμίζει σε πολλούς κάποιο σύστημα που θα βοηθάει τα δάχτυλα του χρήστη να μην ιδρώνουν και όχι κάτι που θα διευκόλυνε την πληκτρολόγηση.
Άλλο ένα χαρακτηριστικό του συστήματος αυτού, είναι οτι τα πλήκτρα θα πιέζονται αυτόματα προς τα κάτω για να μην χρειάζεται ο χρήστης να του ασκεί μεγάλη πίεση.
Απ’ ότι φαίνεται πάντως η τεχνολογία αυτή της Apple μάλλον δεν θα ενθουσιάσει και πολλούς χρήστες αφού στην ουσία δεν προσφέρει και κάτι σημαντικό.
Πάντως από την πλευρά της η εταιρία ετοιμάζεται να εφαρμόσει αυτή την τεχνολογία σε μικρά πληκτρολόγια, όπως ίσως αυτό του MacBook Air.
Το νέο πληκτρολόγιο που ετοιμάζει η Apple, θα διευκολύνει πολύ κόσμο που δεν είναι καλοί στο γράψιμο αφού θα μπορεί να γνωρίζει ποιό θα είναι το επόμενο πλήκτρο που θα πατήσει.
Η πρόβλεψη αυτή λειτουργεί με μικροαισθητήρες οι οποίοι θα βγάζουν αέρα από τα πλήκτρα έτσι ώστε να μπορούν να εντοπίσουν τα δάχτυλα του χρήστη πριν αυτά αγγίξουν την επιφάνεια του πλήκτρου και στη συνέχεια ανάλογα με την κίνηση τους μπορούν να καταλάβουν την πρόθεσή του.
Το σύστημα αυτό με τον αέρα σίγουρα θυμίζει σε πολλούς κάποιο σύστημα που θα βοηθάει τα δάχτυλα του χρήστη να μην ιδρώνουν και όχι κάτι που θα διευκόλυνε την πληκτρολόγηση.
Άλλο ένα χαρακτηριστικό του συστήματος αυτού, είναι οτι τα πλήκτρα θα πιέζονται αυτόματα προς τα κάτω για να μην χρειάζεται ο χρήστης να του ασκεί μεγάλη πίεση.
Απ’ ότι φαίνεται πάντως η τεχνολογία αυτή της Apple μάλλον δεν θα ενθουσιάσει και πολλούς χρήστες αφού στην ουσία δεν προσφέρει και κάτι σημαντικό.
Πάντως από την πλευρά της η εταιρία ετοιμάζεται να εφαρμόσει αυτή την τεχνολογία σε μικρά πληκτρολόγια, όπως ίσως αυτό του MacBook Air.
Via:sigmalive.com



0 σχόλια:
Δημοσίευση σχολίου